Invention (Patent): Castro FF, Fisher JMO, Moskovitz AP. Semi-constrained ball and socket joints. US20130013079A1 (2013).
US20130013079A1 US
Inventors: Floyd Franklin Castro, James Mark Oakley Fisher, Alex Paul Moskovitz
Current Assignee: CASTRO FLOYD
Worldwide applications 2012 US
Application US13/544,479 events:
2012-07-09 Application filed by Individual
2012-07-09 Priority to US13/544,479
2013-01-10 Publication of US20130013079A1
2014-09-10 Assigned to CASTRO, FLOYD
2015-06-23 Application granted
2015-06-23 Publication of US9060862B2
Status: Expired - Fee Related
2032-07-09 Anticipated expiration
Semi-constrained ball and socket
joints
Floyd Franklin Castro, James Mark Oakley Fisher, Alex
Paul Moskovitz
Abstract
Regarding
semi-constrained artificial ball (head) and socket (cup) joints such as the hip
or shoulder joint, which allow for certain numbers of degrees of rotation along
three independent axes. For example, one embodiment creates at least two axes
of rotation through a super-spherical space carved out of the inner surface of
the cup, with a cup-cable connecting two points along the super-spherical
space, and a perpendicular head-cable looping around the head and the cup-cable
within the super-spherical space, and with the head-cable residing in a groove.
Another embodiment creates two axes of rotation through a combination of a 1)
swivel with lever and/or 2) cable attached to a circular track (with the knob
or ring around cable facing inward or outward), both of which have the center of
the head as the center of rotation. The third axis may be created by a
horizontal swivel and by wiggle room.
Description
CROSS REFERENCE TO RELATED APPLICATIONS
This application claims the benefit of U.S. Provisional
Application No. 61/505,970, filed Jul. 8, 2011, of the same title and same
inventors.
BACKGROUND
Natural ball and socket joints (such as hip (FIG. 1) and
shoulder joints (FIG. 2)) allow for certain degrees of rotation along three
independent axes. For instance, you can kick your leg forward/backward,
outward/inward, and twist your leg. (The ball in that instance is the end of
the femur that fits inside the enclosing socket of the hip.) Older adults and
others in need of artificial ball and socket joints (such as hip and shoulder
replacements) wish to maximize range of movement without a high risk of
dislocation of the ball from the socket. Furthering this goal allows the
prosthetic bearer to, among other things, participate maximally in fitness that
can help prevent one's health from deteriorating, and also to avoid painful
corrective surgeries that further disrupt the ball and socket connection and
risk even further dislocation. Thus, there is an extremely substantial need for
a prosthetic apparatus that allows for maximal range of rotational movement
without dislocation.
There have been many attempts to constrain the ball to the
socket in the past: For instance, U.S. Pat. Nos. 7,780,737; 7,766,971;
7,749,277; 7,335,231; 7,192,449; 7,179,298; 7,179,296; 7,169,186; 7,160,332;
7,144,427; 7,115,145; 7,074,24; 7,022,142; 6,986,792; 6,923,833; 6,527,808;
6,299,647; 6,042,612; 6,042,611; 5,916,270; 5,782,930; 5,639,280; 5,556,434;
5,092,897; 5,062,823; 4,960,427; 4,770,661; 3,996,625; U.S. Applications
20100174380; 20100087930; 20080125866; 20090088853 20070225818; 20070135927;
20070106392; 20070106389; 20060241780; 20060101; 20030050703; 20030191537;
20030212458; 20010032021. However, all are limited either in rate of
dislocation or in range of smooth motion. Thus, this extremely substantial need
for a prosthetic ball and socket apparatus that allows for maximal range of
motion along each of the planes of rotation and along the line of twisting
without dislocation has gone unmet for quite some time.
SUMMARY
Versions of the invention allow for increased degrees of
rotation of a head-bone (such as a femur 112 or a humerus 402)
along three independent axes relative to the cup-bone (such as a hip-bone 102 or
a shoulder framework 404), while still constraining the head-bone from
dislocation from the cup-bone.
First, to explain some terms—imagine the head as an earth
viewed from space, with an equator, a north pole, south pole, northern
hemisphere, latitudinal lines (running sideways), longitudinal lines (running
north and south). Now imagine a head from the preferred embodiment from
the first version 108 inside a socket 104 of a
cup 106 (see FIG. 12). The head's north pole 1202 is
closest to the apex of the inner surface of the cup 702 (though when
the head 108 rotates, the head's north pole 1202 rotates).
The apex of the inner surface of the cup may also be referred to as “the north
pole of the inner surface of the cup.” The head's south pole 1204 is
furthest from the apex 702 of the inner surface of
the cup 802. The head's equator 1206 contacts where
the rim of the inner surface of the cup 532 meets
the head 108 through the cup-liner 531 (except when
the head 108 rotates). In neutral position (when
the head 108 has not articulated in any directions yet), the
cup's north pole 514 and equator 532 are at
approximately the same point as the head's north pole 1202 and
equator 1206 (this is not true when the head 108 has
rotated along either the line of a cup-cable 526 or perpendicularly
along the line of a head-cable 202). Usable head rotation means geometries
of various parts that when combined into an embodiment and/or version, allow
for head rotation that satisfies a particular function (walking default,
alternatively normal movement, or movement sufficient to do a particular
activity and/or other functions), and obviously does not break down after a
week of use (alternatively, nor does it lead to excess buildup of toxic
material, for example metal debris leaching out into the body resulting from
metal on metal rubbing). For instance, the term “horizontal” (usually used in
context of a “horizontal swivel”) means latitudinal enough for usable head
rotation (the term horizontal is defined alternately and more specifically
below).
FIGS. 1-12 all depict an embodiment (which is the
preferred embodiment of the first version and of all versions) of the first
version. This version comprises (see FIG. 5, and also FIG. 2 for
most parts) A) a head to head-bone rod 218 (with one end to be
inserted into the head-bone such as a femur 112 or
a humerus 402, and a second end connected to a head 108), B)
the head 108 and C) a cup 106 encircling
the head 108, with the cup 106 to be inserted into the
cup-bone (such as the hip-bone 102 or the shoulder framework 404),
and D) a cup-liner 531 interposed between the cup 106 and
the head 108.
For the first version:
A. The head to head-bone rod 218 fastens at one
end to “roughly the south pole of the head”, and at the other end comprises a
rod to be inserted into the head-bone. (See for example FIG. 2). [“Roughly
the south pole of the head” means close enough to the south pole of the head to
allow for usable head rotation.] Alternatively, the head to head-bone rod can
attach to the south pole (without the “roughly” qualification), or anything in
between roughly and exactly. If the head-cable 202 passes through
“about the head's south pole”, [“about the head's south pole” means close
enough to the south pole to allow for usable head rotation] then the head to
head-bone rod 218 has a hole roughly at the south pole end of
the head 1204 to allow the head-groove 204 and
head-cable 202 to pass through about the south pole 1204.
(See FIG. 9).
B. The head: The head 108 is “roughly a ball
shape” [meaning having spherical portions of the surface of the head 108 that
allow it to fit snugly within the spherical portions 506 of the
inner surface of the cup 802, even when the head 108 is
rotated along any axis allowed to any number of degrees allowed (in the context
of all of the parts put together), as well as having room for the
cup-cable 526 within the super-spherical cavity 804] that fits
inside the cup 106 and contacts the spherical
portions 506 of the inner surface of the cup 802 through
the cup-liner 531. “A head fitting inside the inner surface of the cup”
means the same thing as “roughly a ball shape”. The phrase “contacting the
spherical portion of the inner surface of the cup” contemplates direct contact
with the spherical portion of the inner surface of the cup and/or indirectly
through a cup-liner. Ideally, the head contacts all spherical portions of the
inner surface of the cup, but alternatively, the head contacts enough spherical
portions to allow for usable head rotation or more.
The head 108 has a “roughly longitudinal
groove” [meaning sufficiently longitudinal to allow for usable rotational
movement of the head 108 along the cup-cable 526 axis
in both directions and defined as a “head-groove” 204] looped around the
circumference of the head 108 running “roughly pole to pole”
[meaning both 1) going from the north pole of the head 1202 to
the south pole 1204 and back, and 2) changing direction in its
loop from northward to southward (and vice versa), closely enough to each pole
to allow for usable head rotation, including but not limited to rotational
movement of the head 108 along the cup-cable 526 axis
in both directions]. Alternatively, the head-groove may be completely
longitudinal and run completely pole to pole, or anything in between this
exactitude and that allowing for usable head rotation. The phrase “fitting
inside the head-groove when the head-cable is between the head and the
spherical portion of the inner surface of the cup” means that those portions of
the head-cable that are currently between the spherical portion of the inner
surface of the cup and the head are inside the head-groove so as not to get
caught or pinched between the head's spherical surface and the spherical
portion of the inner surface of the cup. Alternatively, the head-cable can be
“looping around a portion of the head”, where the head cannot move
translationally away from the inner surface of the cup's north pole without the
head-cable tightening, or catching. This serves the same purpose of
constraining the head translationally as when the head-cable is “attaching to
the head” at at least two ends.
Note that while ball-bearings 602 are included in
the preferred embodiment between the head 108 and the
head-cable 202, allowing the head 108 to rotate
independently of the head-cable 202, thus allowing the head-cable 202 to
maintain its shape when it loops around the cup-cable 526, thus obviating
the need for the head-cable 202 to be flexible, that if the
head-cable 202 is flexible, then it can change its shape as the
stretch of head-cable forming the loop around the cup-cable 526 changes.
(This change in shape can also allow the head 108 to potentially
rotate further than if the head-cable 202 was straight—see for
example FIG. 11D showing the head-cable line rotating further along
the head 108 than in the super-spherical cavity 804—see
also FIG. 16D.) Additionally, even if the head-cable 202 is not
flexible, and the head 108 did not rotate independently from the
head-cable 202, there would still be wiggle room before either an end of
the loop of the head-cable 108 hit the cup 106 or the
head-cable 108 caught on the cup-cable 526.
In another embodiment, a sheath 1304 encloses
the head-cable 202 for a portion of the head-cable 202 that
does not need to come out of the head-groove 204 to begin to loop
around the cup-cable 526 (optionally and preferably all of the length
not needing to come out of the groove) during usable head rotation
(see FIG. 13A).
In yet another embodiment (see FIGS. 15A-15B), the
swerving head-cable 1502 and/or swerving head groove 1506 in
the accommodating head 1504 do not go around the south
pole 1204 of the head 1504, though the swerving
head-cable 1502 does make a complete loop (no breaks in the swerving
head-cable 1502), obviating the need for a hole 570 between
the stem 110 and the south pole of the head 1204,
making the formerly pronged portion 564 into a
non-pronged portion 1306. Again, the geometry of the swerve around the
south pole of the head 1204 must 1) allow for usable head
rotation and 2) if no sheath (similar to the sheath 1304 in FIG.
13A) is used around the swerving head-cable 1502, not allow for the
swerving head-cable 1502 to slip out of the swerving head-groove 1506 during
usable head rotation.
In yet another embodiment (see FIG. 13B), the
head-cable 202 and/or head-groove 204 do not go all the way
down to the south pole of the head 1204 and loop around it, but
attach 1302 to the accommodating head 1308 at certain
latitudes above the south pole of the head 1204 at each end. The
latitudes at each end attached must allow for usable head rotation.
In yet another embodiment (see FIGS. 14A-14B), the
head-cable is forked 1406 (with accommodating forked
head-groove 1404) around the south pole of the head 1204, again
obviating the need for a hole 570 between the stem 110 and
the south pole 1204 of the head 1402, making the
formerly pronged portion 564 into a
non-pronged portion 1306. Again, the geometry of the swerve around
the south pole of the head 1204 must 1) allow for usable head
rotation and 2) if no sheath (similar to the sheath 1304 in FIG.
13A) is used around the forked head-cable 1406, not allow for the forked
head-cable 1406 to slip out of the forked head-groove 1404 during
usable head rotation.
In yet another embodiment (see FIGS. 16A-16B), instead
of one head-cable 202, a number one head-cable 1604 in a number
one head-groove 1606 is used on one side of the south pole of
the head 1204, and a number two head-cable 1608 in a number
two head-groove 1610 in an accommodating head 1602 is
used on the other side of the south pole of the head 1204, again
obviating the need for a hole 570 between the stem 110 and
the south pole of the head 1204, making the formerly
pronged portion 564 into a non-pronged portion 1306.
Again, the geometry of each head-cable around the south pole of
the head 1204 must 1) allow for usable head rotation and 2) if
no sheath (similar to the sheath 1304 in FIG. 13A) is used
around the number one head-cable 1604 or the number two
head-cable 1608, not allow for either head-cable to slip out of the
head-groove 1610 during usable head rotation. Note that any number of
head-cables may be used, so long as they allow for usable head rotation. It is
best (and optional) to have the head-cables parallel and close to the north
pole-south pole line of the head 1602, but they may be non-parallel
and/or further apart if they still allow for usable head rotation.
In yet another embodiment (see FIG. 17), the above
embodiment (in the previous paragraph) with multiple head-cables is changed by
replacing the cup-cable 526 with two mini-cup-cables 1702.
Again, the geometry must allow for usable head rotation. It is optionally
useful to have stretchable head-cables to obtain more degrees in the range of
motion along each axis.
In yet another embodiment (see FIG. 20), a shortened
head-cable 2004 does not have any head-groove 204 but
attaches to the accommodating head 2002 at two points 2006 in
the northern hemisphere of the accommodating head 2002, again
obviating the need for a hole 570 between the stem 110 and
the south pole of the head 1204, making the formerly pronged
portion 564 into a non-pronged portion 1306. Optimally, the
shortened head-cable 2004 attaches at each end at 45 degrees from the
north pole of the head 1202 on opposite sides of the north pole,
so as to allow the head 2002 to rotate 45 degrees in each
direction along the line of the shortened head-cable 2004 before
either 1) the attachment point 2006 of the head-cable 2004 bangs
into the inner surface of the cup 804, or 2) the shortened
head-cable 2004 catches on the cup-cable 526.
In yet another embodiment (see FIG. 2106), instead of
using a head-cable 202 and cup-cable 526, a head-cup-cable 2104 connects
the inner surface of the cup 802 to the accommodating
head 2102 with attachment point 2106 (optionally and
preferably connecting the north pole of the head to the north pole of the cup,
for maximum range of motion in all directions). It is useful for the
head-cup-cable 2104 to be stretchable and have room to unfold itself
and become longer (like a snake uncurling), so as to increase the range of
motion, so long as it does not get tangled within itself.
Note again that the above embodiments not needing
a hole 570 for the head-cable 202 have
an un-pronged portion 1306 attaching the stem to the south pole
of the head 1204. All of these embodiments optionally but optimally
have cables parallel to the north-south pole line and as close to it as
possible (excepting for a strong enough stem for usable head rotation).
If it is not necessary for the head-cable to slide linearly relative
to a head-groove, then the head-cable must just fit these requirements: 1) it
must be able to loop around the cup-cable(s) during usable head rotation; 2) it
must not catch at the cup's equator between the head and the inner surface of
the cup (through the cup-liner).)
Though not optimal, it is not necessary for the head-cable
to be in the head-groove all of the way along the head (aside from looping
around the cup-cable), so long as usable head rotation is obtained.
Though the cup 106 is shown in the figures
extending to the equator of the head and no further, the cup can extend down
beyond the equator of the head into the southern hemisphere, so long as usable
head rotation is obtained. This can be used as an additional safeguard to keep
the head from dislocating from the socket, but sacrifices range of motion to
the extent it encircles the head.
B. The cup: The cup 106 is comprised of
an inner surface 802 and an outer surface 511,
the outer surface 511 fastened to the cup bone (for
example, hip bone 102 or shoulder framework fitting around the
cup 404) and the head 108 fitting within the
cup's inner surface 802. The inner surface is comprised of
a spherical portion 506 and a super-spherical (hollowed out
beyond spherically) portion 508. (See for example FIG.
5 for components mentioned in this paragraph).
Optionally and preferably the super-spherical
portion 508 of the inner surface of the cup 802 viewed
from the side is a portion of a circle with its center the same as
the spherical portion 506 but with a larger radius, also
optionally with sides that jut inward allowing the cup-cable 526 to
contact the inner surface of the cup 802 at a perpendicular
angle. However, so long as the super-spherical cavity 804 allows
room for the head-cable 202 to loop around the cup-cable 526 and
rotate for usable rotation, there is enough concavity in the super-spherical
cavity 804.
Spherical Portion:
The spherical portion 506 of the inner
surface of the cup 802 “runs roughly all of the way around the
inner surface of the cup along latitude lines, is located roughly closer to the
cup's equator than the super-spherical portion, and extends approximately up
from the equator to a certain latitude on the inner surface of the cup”
[meaning also covering enough surface area along the head's equator 1206 to
accomplish the following: 1) once fitted into the spherical portion 506 of
the socket/cup, the head 108 cannot move translationally further
into the socket; and 2) the surface area of the portion where
the head 108 contacts the cup-liner 531 is sufficient
such that any debris buildup caused by rubbing of the head 108 and
the inner surface of the cup 802 against the cup
liner 531 does not unduly impair operation of the apparatus nor the
patient's health to render the hip implant unsafe to implant]. Alternatively,
the “inner surface wherein a portion of the inner surface running from the
cup's equator to a more northerly latitude” is defined to runs all of the way
around the inner surface of the cup along latitude lines, extends upward from
the cup's equator to a particular latitude (for example, 5, 10, 20, 45 degrees upward
from the cup's equator, these examples not meant to be limiting).
Super-Spherical Portion:
The super-spherical portion 508 of the inner
surface of the cup 802 “runs roughly all of the way around the
cup along latitude lines, is located roughly closer to the cup's north pole,
and extends down approximately from the inner surface of the cup's north pole
to said certain latitude on the inner surface of the cup” [meaning also
covering enough surface area to allow usable rotational movement both along the
line of the cup-cable 526 and along the line of the head-cable 202].
Alternatively, there can be “a portion of the inner surface running from the
more northerly latitude to the north pole of the cup”, wherein the
super-spherical (same meaning as “hollowed out super-spherically”) portion runs
all of the way around the cup along latitude lines, and runs down latitudinally
from the north pole of the inner surface of the cup to the latitude at which
the spherical portion begins.
Connecting the Cup to the Cup-Bone:
The cup 106 is fastened to the cup-bone,
either directly or indirectly through a mounting plate 302 (or other
combination of parts) encapsulating the cup 106 (optionally and
preferably with two screws into the cup-bone, and the cup 106 connecting
to the mounting plate 302 through male and female locking
grooves).
In yet another embodiment (See FIGS. 22A-C), the
portions of the cup 106 along the cup's equator are recessed
along the line of the head-cable 202 (with one recess 2202 at
one side, and another recess 2204 on the opposite side), allowing
the stem 110 room to swing up beyond 180 degrees (see FIG.
22B). Note that the cup-liner 531 must also be similarly recessed.
Optionally, the cup liner 531 lines at least
the spherical portions 506 of the inner surface of
the cup 802 and contacts the inner surface of the cup 802 on
one side and the head on the other side. (See for example FIGS. 3, 5).
Optionally, a locking ring for the cup liner holds the cup
liner in place, such as found in U.S. Pat. No. 7,766,971.
The cup-cable 526 runs “roughly parallel to the
surface of the head above the north hemisphere and roughly perpendicular to the
head-groove” [meaning parallel enough to the surface of the head and
perpendicular enough relative to the head-groove to allow for usable head
rotation], attached at each end at a point on the super-spherical portion of
the inner surface of the cup (optionally with a lip that allows the cup-cable
to contact the inner surface of the cup at a perpendicular angle). (See for
example, FIGS. 13A-B). Alternatively, the cup-cable can run exactly
parallel to the surface of the head above the north hemisphere.
Cup-Cable/Head-Cable Interface:
In yet another embodiment (see FIGS. 18-19), the
head-cable 202 can slide linearly relative to an interface 1802,
while the cup-cable 526 can also slide linearly (though perpendicular
to the head-cable) relative to the interface 1802. This allows the
distance between the cup-cable 526 and the head-cable 202 to
remain fixed for easier motion. The interface 1802 is composed
of 1) a subunit 1804 with a hole 1808 for the
head-cable 202 housing a roller bearing above the head-cable 1902 and
a roller bearing below the head-cable 1904; and 2) a subunit 1806 with
a hole 1810 for the cup-cable 526 housing a roller
bearing above the cup-cable 1906 and a roller bearing below the
cup-cable 1908. Note that any number of roller bearings (or other bearings
such as ball-bearings, or sets of bearings) may be used, so long as the
head-cable 202 and cup-cable 526 each can slide
independently. It is also possible to have only the cup-cable 526 able
to slide if ball-bearings in the head-groove allow the head to rotate
independently of the head-cable.
More on the Swivel:
The swivel allows the head-bone to rotate along the z-axis
(when you twist your leg (for the hip joint) or twist your shoulder (for the
shoulder joint) in the axis pointing from the inner surface of the cup's north
pole down to the head-bone, discussed earlier as “latitudinally”). Rotation
along this z-axis is called “horizontal”, resulting in the term “horizontal
swivel.” The swivel may be horizontal, or roughly horizontal enough to allow
for usable head rotation, or anything in between. The swivel may be at any
workable point between the head-bone and the cup-bone—thus, if it does not
interfere with the functioning of the other parts of the apparatus, such points
which should be obvious to one of ordinary skill in the art. For instance, the
swivel also may be between the inner surface of the cup 802 and
the cup-bone (for example, the hip bone 102 or the shoulder
framework 404), or between the inner surface of the cup 802 and
the head 108, or between the south 1204 pole of the head
and the head-bone (for example, the femur 112 or the humerus 402),
or bisecting the head 108 (so long as it doesn't interfere with the
head-cable 202 sliding in any head-grooves 204, and is
sufficiently strong so that the part adjacent to the swivel closer to the
cup-bone (for example, the hip bone 102 or the shoulder
framework 404) remains “substantially fixed” [meaning not susceptible to
breakage or unusable bending] (aside from the horizontal twisting afforded by
the swivel) relative to the part adjacent to the swivel further from the
cup-bone (for example, the hip bone 102 or the shoulder
framework 404)). The swivel is optional, as the head 108 may
still swivel horizontally before the head-cable 202 runs into the
cup-cable by becoming less perpendicular to each other.
It should be obvious to one of ordinary skill in the art,
using the main concepts and the first version to work off of, to make and use
different versions using a) various means of connection (instead of screws,
substituting other ways of connecting the parts); b) splitting a given part
into multiple parts (for instance, to allow for assembly of most parts outside
of the body, and to allow parts to be more easily replaced (for instance, so
the bone doesn't have to be drilled into)), and/or combining parts; c) varying
numbers along ranges (for instance, the size of the head, exact shape of
super-spherical cavity so long as it performs its function, exact latitude at
which the inner surface of the cup shifts from super-spherical to spherical,
exact placement and design of the horizontal swivel, among others); and/or d)
omitting features so long as the function of usable head rotation is still
served. While different type heads (or other parts) are referred to throughout,
the usage of a specific reference numeral (such as 108) is not meant to
constrain the meaning if other geometries (including but not limited to parts
from other embodiments and/or other versions) are workable within the general
inventive concept, but just to be an example.
It should be obvious to a person of ordinary skill in the
art how to assemble any of the previously mentioned versions, with the
following additional tips:
1. To assemble the head 108/head-cable 202/head
to head-bone rod 218 complex when there is a south pole hole in the
end of the head to head-bone rod 570 which the head-cable 202 and
head-groove 204 fit through, the head to head-bone rod 218 may
have two prongs 571 that fit into the head 108 at
the south pole of the head 1204, where the head-cable 202 loops
around the beginnings of the prongs in the prongs hole 570 and
turns along with the prongs 571 until the prongs 571 are
fully screwed in. (One alternative (not in preferred embodiment) would be if
the head-groove 204 is to completely loop around the south pole of
the head 1204, then after the head-cable 202 is inserted
between the two prongs 571, then a piece with head-groove
portion 577 facing the beginnings of the prongs 571 could
be attached between the two prongs to complete the head-groove 204 between
the prongs 571.) Or, instead of looping the head-cable 202 around prongs 571 in
the head-head-bone rod 218 before the prongs 571 are
screwed into the head 108, a section of one of the prongs 571 could
be cut out and replaced (or just put in) after sliding the head-cable 202 between
the two prongs 571. There are many other methods of assembling these
parts, which should be obvious to one of ordinary skill in the art.
2. To loop the head-cable 202 around the cup-cable 526 while
both will eventually end up in a covered cavity 804 between the
inner surface of the cup 802 and the northern hemisphere of the
head, there must be a hole adequate to allow the cup-cable 526 to be
inserted properly between the head-cable 202 and the head 108 (if
the preferred embodiment method detailed above of squeezing the cup-cable 526 between
two parts of the cup 106 is not used)—with (see FIG. 8B)
a hole 808 at either end of where the cup-cable 526 attaches
with an accommodating cup 810 to the cup, or (see FIG. 8C)
closer to the top of the cup, beginning with an accommodating cup 812 with
an accommodating hole in the top 814 through which first the
cup-cable 526 fits into the cavity 804 and then
the hole 814 is closed by an accommodating piece 816 to
fit into the cup 812.
Any number of variations of the above two methods of
assembly, and/or other methods, should be obvious to one of ordinary skill in
the art.
Each version may be used to create independent axes of rotational
movement (through a combination of rotation along the line of the
head-cable 202 (see FIGS. 11A-11B examples), along the line
of the cup-cable 526 (see FIGS. 11C-11D), and twisting through
the swivel—alternately using the natural twisting allowed by the head-cable and
cup-cable instead of the swivel), while still constraining the head
translationally relative to the cup. The degrees of rotation along each axis
are limited by physical constraints—ie when one part (such as a
head-cable 202) runs into another part (such as the inner surface of the
cup 802).
In another version, each axis of rotation is created
piecemeal through “swivel devices” that form a device assembly (which connects
the cup-bone (such as the hip bone 102 or the shoulder
framework 404) to the head-bone (such as the femur 112 or
the humerus 402).
Each axis of rotation is created piecemeal through a “swivel
device” that rotates around where the center of the head 108 would
be, either through 1) a swivel with a lever (see for example FIGS. 30A-C),
comprising a swivel whose axis of rotation crosses through the center of the
head with a lever 3004 extending perpendicular to said axis of
rotation and outward from the center of where the head 108 would
be, or 2) a cable that is caught within but slides smoothly along a circular
track along a fixed radius from the center of the head (optionally with ball
bearings interfacing between the cable caught in the track and the track), the
cable being a permutation of the variables a) inside the head track (top left
of FIGS. 26, 29) vs. along the cup track (top left of FIGS.
27, 28) and b) type of track (for instance, knob inside track (top left
of FIGS. 26, 27) or ring around cable (top left of FIGS.
29, 28)). To create two independent axes of rotation, the axis about which
each device rotates is perpendicular to the other device's axis. Note that each
device may be attached to separate sides of the head (see for
example FIGS. 24A-24B, 31A-31B), or to each other (see for example
top left of FIG. 25A)—the only constraint when selecting devices is that
the lever device (see for example FIGS. 30A-30C) may only be used when
pointing outward from the head's center. Each device or combination (when the
devices are not on separate sides of the head but are connected to each other)
of devices attaches the head to either the head-bone or to the cup-bone, and
the connection between the head and the bone not connected by a combination
(the cup-bone or the head-bone, if two separate devices are not used) does not
have to rotate (but may, such as through another device).
Adding more devices even after two axes of rotation were
already created may be used to get extra degrees of rotation (such as by having
both the head-bone and the cup-bone each separately attached to cables that
insert along the same track (along the same axis of rotation, allowing for
possibly more than 180 degrees of rotation along that axis)). (For example,
see FIGS. 25A-C, where two knobs are both in a track 2313 in
the head).
Swivel with Lever:
FIGS. 30A-30C depict the preferred embodiment of a
swivel with lever 3004 (see FIGS. 30B-30C for inner parts).
An accommodating head 3006 (with optional fixed point 3008 on
opposite side of head 3006) is adapted to fit a swivel
with lever 3004 extending perpendicular to axis of rotation and
outward from the center of the head 3006, the swivel comprising
the lever 3004 which is rotated by a ring 3002 that
rotates about the center portion 3012 attached
the head 3006 through ball-bearings 3014.
The accommodating head 3006 contains a slot so that
the lever 3004 can rotate a certain number of degrees without
being stopped by the accommodating head 3006.
Inside Track:
An inside track is where something is caught within but
slides smoothly along a circular track along a fixed radius from the center of
the head, and where the fixed point is further away from the center of the head
(for instance on the cup) than the track. For example, 1) (see for
example, FIG. 27) a dumbbell portion with knob 2320 in track 2313 and stick
portion 2306 extending to fixed points at the cup 2702 and
on the bottom 2504 (optionally with ball-bearings 2704)
(see FIG. 27, two knobs 2320) the inside of the head 2502 or
2) (see for example, FIG. 29) a ring 2904 around
a cable 2906 in a slot 2902 on the inside of the
head 2908.
Outside Track:
An outside track is where something is caught within but
slides smoothly along a circular track along a fixed radius from the center of
the head, and where the fixed point is closer to the center of the head (for
instance in the head). For example, 1) (see for example, FIG. 26) a
dumbbell portion with knob 2308 in track 2312 and stick
portion 2306 extending down towards the center of the accommodating
head 2604 (optionally with ball-bearings 2606 and with
optional fixed point 2602 on the other side of accommodating
head 2604) or 2) (see, for example, see FIG. 28) a ring 2804 around
a cable 526 in a slot 2806 on
the accommodating cup 2808.
A horizontal swivel (with an axis perpendicular to that of
the two devices) may be created just as in the cables version (see for
example FIG. 28). Unlike some of the cables embodiments, a swivel
bisecting the head will not interfere with the operation of any cable, because
there is none.
As with the cables version, there are many ways of
implementing the details of the piecemeal version, such as number of parts
(such as more sets of ball-bearings for lever), type of parts (such as using
roller-bearings instead of ball-bearings), geometry (does not have to be exact
so long as the function of usable head rotation is fulfilled) and any other
factor obvious to one of ordinary skill in the art.
Alternatively to the piecemeal version, two or three axes of
rotation may be created through a gimbal for each axis of rotation (optionally
with a flexible cover). (For example, see FIG. 32). The third axis is
created through a horizontal swivel as above.
Additionally, one track combined with a horizontal swivel
may create two axes of rotation by acting like a weathervane (for example,
see FIGS. 23A-23B). For example, an outside track with a knob
(see FIGS. 23A-23B) can rotate along one axis. If the pressure on the left
side of the head is different from that on the right side of
the head 2304, then the head 2304 will swivel more and
more until it reaches the point where it is only rotating about the axis of
the track 2312.
Assembly of the piecemeal and track versions should be
obvious to one of ordinary skill in the art.
The materials used for each embodiment within each version
are those commonly used for making artificial hip joints. The inventor has no
preference.
So long as usable head rotation can be maintained without a
certain feature within a combination of features, that feature is optional. Of
course, parts of different versions may be combined when they produce usable
head rotation. Again, all embodiments mentioned above are merely intended to be
examples, and are not intended to limit the scope of the invention—one of
ordinary skill in the art will know many variations on implementing the details
without varying the inventive concepts.
BRIEF DESCRIPTION OF THE DRAWINGS
The accompanying drawings, which are incorporated in and
form a part of the specification, illustrate preferred (but not necessarily
necessary) embodiments of the present invention and, together with the description
and summary, disclose principles of the invention. Note: not all features of an
embodiment and/or version are necessarily present in one drawing.
FIG. 1 is a perspective view of an embodiment of the
invention connecting a femur to a hip bone.
FIG. 2 is a partially exploded view of an embodiment of
the invention with a head-cable.
FIG. 3A is a perspective exploded view of a hip bone,
an embodiment of cup liner and of cup.
FIG. 3B is a perspective partially exploded view of the
embodiment of FIG. 3A.
FIG. 3C is a unexploded perspective view of the
embodiment of FIG. 3A.
FIG. 4A is a perspective view of an embodiment of the
invention forming the glenohumeral joint.
FIG. 4B is a perspective view of the embodiment
of FIG. 4A, but with the glenohumeral joint magnified.
FIG. 5 is a perspective, exploded, partial cross
section view of an embodiment with head-cable.
FIG. 6 is a perspective, exploded view of the
embodiment of FIG. 5.
FIG. 7 is a perspective, partial cross section view of
the embodiment of FIG. 5.
FIG. 8A is a cross section view of an embodiment of the
cup.
FIG. 8B is a perspective view of a first method of the
cup-cable being assembled into an embodiment of the cup.
FIG. 8C is a perspective view of a second method of the
cup-cable being assembled into an embodiment of the cup.
FIG. 9 is a perspective partial cross section view of
the embodiment of FIG. 5.
FIG. 10 is a partially exploded, partial cross section
view of the embodiment of FIG. 5.
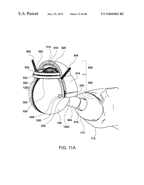
FIG. 11A is a perspective, partial cross section view
of the embodiment of FIG. 5 with the head rotated along the line of
the head-cable.
FIG. 11B is a different perspective view of the
embodiment of FIG. 5 with the head rotated along the line of the
head-cable.
FIG. 11C is a perspective, partial cross section view
of the embodiment of FIG. 5 with the head rotated along the line of
the head-cable and rotated along the line of the cup-cable.
FIG. 11D is a different perspective, partial cross
section of the embodiment of FIG. 5 with the head rotated along the
line of the head-cable and rotated along the line of the cup-cable.
FIG. 12A is a perspective, partial cross section view
of the embodiment of FIG. 5.
FIG. 12B is a side view, partial cross section of the
embodiment of FIG. 5.
FIG. 13A is a perspective partial cross section view of
an embodiment with a retaining sheath around the head-cable.
FIG. 13B is a perspective partial cross section view of
an embodiment with the head-cable attaching to the head at each end of the
head-cable.
FIG. 14A is a perspective, partial cross section view
of an embodiment with a forked cable around the south pole of the head.
FIG. 14B is a different perspective, partial cross
section view of the embodiment of FIG. 14A.
FIG. 15A is a perspective, partial cross section view
of an embodiment with a cable detouring around the south pole of the head.
FIG. 15B is a different perspective, partial cross
section view of the embodiment of FIG. 15A.
FIG. 16A is a perspective, partial cross section view
of an embodiment with two head-cables.
FIG. 16B is a different perspective, partial cross
section view of the embodiment of FIG. 16A.
FIG. 17 is a perspective, partial cross section view of
an embodiment with two head-cables, each of which loops around a separate
cup-cable.
FIG. 18A is a perspective view of an interface (and
surrounding parts) allowing the cup-cable and the head-cable each to slide
along each cable's respective line relative to the interface.
FIG. 18B is a different perspective view of the
embodiment of FIG. 18A.
FIG. 19A is a perspective view of the embodiment
of FIG. 18A, zoomed in relative to FIGS. 18A-B.
FIG. 19B is a perspective, partial cross section view
of the embodiment of FIG. 18A, zoomed in relative to FIGS. 18A-B.
FIG. 20 is a perspective, partial cross section view of
an embodiment where the head-cable attaches at each of its two ends at some
point along the northern hemisphere of the head.
FIG. 21 is a perspective, partial cross section view of
an embodiment where the head-cable attaches from the north pole of the cup to
the north pole of the head.
FIG. 22A is a perspective, partial cross section view
of the embodiment in FIG. 5 with a recess in the cup at each end
along the line of the head-cable.
FIG. 22B is a perspective, partial cross section view
of the embodiment in FIG. 22A with head and other parts added.
FIG. 22C is a perspective, partial cross section view
of the embodiment in FIG. 22A with head and other parts added and
head articulated.
FIG. 23A is a perspective, partial cross section view
of an embodiment with an outside track with knob, also with horizontal swivel.
FIG. 23B is a perspective, partial cross section view
of the embodiment of FIG. 23A with head articulated.
FIG. 24A is a perspective view of an embodiment of two
perpendicular inside tracks with knobs on opposite sides of the head and a
swivel in between.
FIG. 24B is a different perspective view of the
embodiment of FIG. 24A.
FIG. 25A is a perspective view of an embodiment with
one outside track with knob, combined with two parallel inside tracks with
knobs.
FIG. 25B is a different perspective view of the
embodiment of FIG. 25A with the head rotated along various lines.
FIG. 25C is a different perspective view of the
embodiment of FIG. 25A.
FIG. 26 is a perspective, partial cross section view of
an embodiment with one outside track with knob.
FIG. 27 is a perspective, partial cross section view of
an embodiment with two inside tracks with knob.
FIG. 28 is a perspective, partial cross section view of
an embodiment with an outside track with ring around cable with a horizontal
swivel.
FIG. 29 is a perspective, partial cross section view of
an embodiment with one inside track with ring around cable.
FIG. 30A is a perspective view of an embodiment with
swivel with lever attached extending from center.
FIG. 30B is a perspective, partial cross section view
of the embodiment of FIG. 30A with the head articulated.
FIG. 30C is a perspective partially exploded view of
the embodiment of FIG. 30A.
FIG. 31A is a perspective, partial cross section view
of an embodiment with an outside track with ring around cable with horizontal
swivel and swivel with lever attached extending from center on the opposite
side of the head.
FIG. 31B is a perspective, partial cross section view
of the embodiment of FIG. 31A with the head articulated.
FIG. 32A is a perspective view of an embodiment with a
gimbal attached to a horizontal swivel.
FIG. 32B is a different perspective view of the embodiment of FIG. 32A.
DETAILED DESCRIPTION
Versions of the invention allow for increased degrees of
rotation of a head-bone along three independent axes relative to the cup-bone,
while still constraining the head-bone from dislocation from the cup-bone.
First, to explain some terms—imagine the head as an earth
viewed from space, with an equator, a north pole, south pole, northern
hemisphere, latitudinal lines (running sideways), longitudinal lines (running
north and south). Now imagine a head from the preferred embodiment from
the first version 108 inside a socket 104 of a cup 106 (see FIG.
12). The head's north pole 1202 is closest to the apex of the
inner surface of the cup 702 (though when the head 108 rotates,
the head's north pole 1202 rotates). The apex of the inner
surface of the cup may also be referred to as “the north pole of the inner
surface of the cup.” The head's south pole 1204 is furthest from
the apex 702 of the inner surface of the cup 802. The
head's equator 1206 contacts where the rim of the inner surface
of the cup 532 meets the head 108 through the
cup-liner 531 (except when the head 108 rotates). In
neutral position (when the head 108 has not articulated in any
directions yet), the cup's north pole 514 and equator 532 are
at approximately the same point as the head's north pole 1202 and
equator 1206 (this is not true when the head 108 has
rotated along either the line of a cup-cable 526 or perpendicularly
along the line of a head-cable 202). Usable head rotation means geometries
of various parts that when combined into an embodiment and/or version, allow
for head rotation that satisfies a particular function (walking default,
alternatively normal movement, or movement sufficient to do a particular
activity and/or other functions), and obviously does not break down after a
week of use (alternatively, nor does it lead to excess buildup of toxic
material, for example metal debris leaching out into the body resulting from
metal on metal rubbing). For instance, the term “horizontal” (usually used in
context of a “horizontal swivel”) means latitudinal enough for usable head
rotation (the term horizontal is defined alternately and more specifically
below).
Cables Version
Versions of the invention allow for increased degrees of
rotation of a head-bone along three independent axes relative to the cup-bone,
while still constraining the head-bone from dislocation from the cup-bone.
Cables Version:
FIGS. 1-12 all depict an embodiment (which is the
preferred embodiment) of the first version. This version comprises
(see FIG. 5, and also FIG. 2 for most parts) A) a head to
head-bone rod 218 (with one end to be inserted into the head-bone
such as a femur 112 or a humerus 402, and a second end
connected to a head 108), B) the head 108 and C)
a cup 106 encircling the head 108, with
the cup 106 to be inserted into the cup-bone (such as the
hip-bone 102 or the shoulder framework 404), and D) a
cup-liner 531 interposed between the cup 106 and
the head 108.
A. The head to head-bone rod 218 is comprised of
i) a stem 110, the stem 110 at one end connecting to
a head 108, and at a second end connecting to ii) a head-bone
rod 114, said head-bone rod 114 to be inserted into the
head-bone (such as a femur 112 or a humerus 402). i)
The stem 110 is comprised of a) a pronged portion of
the stem 564, said pronged portion of the stem comprising a hole at
the non-pronged end 576 for insertion of a pronged-non-pronged
threaded portion of the non-pronged portion of the stem 572,
two parallel prongs 571 with a hole between
the prongs 570, and two holes for two countersunk screws 568 (to
go through the head 108), and b) a non-pronged portion 574,
comprised of a pronged-non-pronged threaded section 572, and a
head-bone connecting threaded section 574 with threads 575,
said head-bone connecting threaded section 574 having
a hole 578 for insertion of a head-bone connecting screw 214 connecting
said section 574 to the head-bone rod 114 and the
head-bone (such as a femur 112 or a humerus 402). ii) The
head-bone rod 114 is comprised of a male portion to be inserted into
the middle of the head-bone (such as a femur 112 or a
humerus 402), a lip, a hole in the lip 212 for said head
bone connecting screw 214 (connecting threaded section of head-bone
connecting threaded section of stem 574 to the head-bone
rod 114 and the head-bone (such as a femur 112 or a
humerus 404)), and a female portion 216 for insertion of
the threaded portion 575 of the non-pronged portion 574 of
the stem 110.
B. The head 108 is comprised of i)
a left semi-hemisphere 542 connected to ii) a central
portion 556 with a groove, ball bearings around the groove 602,
a sheath around the ball-bearings 204, and a head-cable around
the sheath 202, said central portion 556 connected to
iii) a right semi-hemisphere 544. i) The left
semi-hemisphere 542 contains a slot 546 for the
first countersunk screw 538 connecting the two semi-hemispheres,
a slot 547 for the second screw 540 connecting
the two semi-hemispheres, and slot 554 for one of the prongs of
the stem 571. ii) The central portion 556 has
two slots 558 for the countersunk screws. iii) The right
semi-hemisphere 544 has a first slot 548 and
a second slot 550 for the countersunk screws, and
a slot 547 for one of the prongs of the stem 571.
The head 108 has a north pole 1202, a south
pole 1204, and an equator 1206.
C. The cup 106 comprises i) an outer
shell 502 ii) a middle shell 517 and iii)
an inner shell 530.
i. The outer shell 502 comprises
a spherical portion 506 closest to the outer
shell's equator 516 and moving up to a certain latitude on
the head 108 where the outer shell is hollowed out beyond
spherically (where the radius is larger), called the super-spherical portion of
the outer shell 508. The outer shell helps enclose
the super-spherical cavity 804. Note the north pole of the inner
surface of the outer shell 514. Note that the outer shell 510 juts
inward at the lower ends so that the inner surface of the cup 802 is
perpendicular to the cup-cable 526 when meeting the cup-cable's 526 ends
(this can help prevent the head-cable 202 from getting caught between
the cup-cable and the inner surface of the cup 802). The outer shell is
connected to the head-bone, such as the hip bone 102 or
the shoulder framework 404 by two screws 504. The
outer shell is connected to the inner shell by two screws 536 that
fit into two slots in the outer shell 906.
ii. The middle shell 517 comprises a) a
mid-super-spherical inner shell 518 that fits inside the inner
surface of the outer shell and shaped 902 to fit the
ball-bearings 522 between it and a middle ring like portion 520 (with
a north pole on its inside surface 702); b) a mid-middle ring
like portion 520 shaped to fit the ball bearings 522 between
it and the mid-super-spherical shell 518, with notches on the bottom 604 to
trap a cup-cable 526 between the mid-middle ring
like portion 520 and a mid-lower shell 524; c)
a mid-lower shell 524 comprises a ring like portion with notches
on top to fit the cup-cable 526 between it and the mid-middle ring
like portion 520.
iii. The inner shell 530 has spherical
portions 506 but a hole cut out from the top to fit the
mid-super-spherical inner shell 518. The inner shell 530 encircles
the cup-liner 531, and both have a lip 534 so that
the outer shell 502 can rest upon the inner shell 530.
The outer shell is connected to the inner shell by two screws 536 that
fit into two slots in the inner shell 904.
Note that the inner surface of the cup 802 has
both a spherical portion 506 and a super-spherical
portion 508.
D. The cup-liner 531 is interposed between
the cup 106 and the head 108, but does not block
the super-spherical cavity 804.
Note: The above constitutes one embodiment of the first
version of the invention—one particular way to build it—but that particular
expression does not encompass all of the inventive concepts used in this
version. Many other ways of making and using this version using the same
concepts as used in this version will be obvious to one of average skill in the
art. The main concepts are as follows:
More on usable head rotation: For instance, the term
“horizontal” (usually used in context of a “horizontal swivel”) means
latitudinal enough for usable head rotation. For example, Osteoarthritis.com
gives the following values for normal hip rotation (minimal and maximal):
flexion (bending) 0-125; extension (straightening) 115-0; hyperextension
(straightening beyond normal range) 0-15; abduction (move away from central
axis of body) 0-45; adduction (move towards central axis of body) 45-0; lateral
rotation (rotation away from center of body) 0-45; medial rotation (rotation
towards center of body) 0-45. Ten to thirty degree flexion is necessary for
walking (Spina Bifida Association of America, sbaa.org), though lower degrees
of flexion still enable movement of the joint. For shoulder joint rotation,
Shoulder flexion 0-90; Shoulder extension 0-50; Shoulder abduction 0-90;
Shoulder adduction 90-0; Shoulder lateral rotation 0-90; Shoulder medial
rotation 0-90. Thus, any embodiment within the inventive concepts detailed
within this patent application that produces usable head rotation is therefore
usable. Note that for the cables version, rotation along the cup-cable and
independently along the head-cable is restricted to 180 degrees, unless the cup
is recessed (see below).
Note that “usable head rotation” means for repeated use
throughout the normal lifetime of an artificial hip joint, which is not
accomplished if for example the head-cable 202 slips out of
the groove 204 and doesn't allow for usable head rotation after
a week (for instance) of use.
A. The head to head-bone rod fastens at one end to “roughly
the south pole of the head” (or more exactly), and at the other end comprises a
rod to be inserted into the head-bone. (See for example FIG. 2). [“Roughly
the south pole of the head” means close enough to the south pole of the head to
allow for usable head rotation.] If the head-cable 202 passes through
“about the head's south pole”, [“about the head's south pole” means close
enough to the south pole to allow for usable head rotation] then the head to
head-bone rod 218 has a hole roughly at the south pole end to allow
the head-groove and head-cable to pass through about the south pole.
(See FIG. 9).
B. The head: The head 108 is “roughly a ball
shape” [meaning having spherical portions of the surface of the head 108 that
allow it to fit snugly within the spherical portions 506 of the
inner surface of the cup 802, even when the head 108 is
rotated along any axis allowed to any number of degrees allowed (in the context
of all of the parts put together), as well as having room for the
cup-cable 526 within the super-spherical cavity 804] that fits
inside the cup 106 and contacts the spherical
portions 506 of the inner surface of the cup 802 through
the cup-liner 531. “A head fitting inside the inner surface of the cup”
means the same thing as “roughly a ball shape”. The phrase “contacting the
spherical portion of the inner surface of the cup” contemplates direct contact
with the spherical portion of the inner surface of the cup and/or indirectly
through a cup-liner. Ideally, the head contacts all spherical portions of the
inner surface of the cup, but alternatively, the head contacts enough spherical
portions to allow for usable head rotation or more.
The head 108 has a “roughly longitudinal
groove” [meaning sufficiently longitudinal to allow for usable rotational
movement of the head 108 along the cup-cable 526 axis
in both directions and defined as a “head-groove” 204] looped around the
circumference of the head 108 running “roughly pole to pole”
[meaning both 1) going from the north pole of the head 1202 to
the south pole 1204 and back, and 2) changing direction in its
loop from northward to southward (and vice versa), closely enough to each pole
to allow for usable head 108 rotation, including but not limited
to rotational movement of the head 108 along the cup-cable 526 axis
in both directions]. Alternatively, the head-groove may be completely
longitudinal and run completely pole to pole, or anything in between this
exactitude and that allowing for usable head rotation. The phrase “fitting
inside the head-groove when the head-cable is between the head and the
spherical portion of the inner surface of the cup” means that those portions of
the head-cable that are currently between the spherical portion of the inner
surface of the cup and the head are inside the head-groove so as not to get
caught or pinched between the head's spherical surface and the spherical
portion of the inner surface of the cup. Alternatively, the head-cable can be
“looping around a portion of the head”, where the head cannot move
translationally away from the inner surface of the cup's north pole without the
head-cable tightening, or catching. This serves the same purpose of
constraining the head translationally as when the head-cable is “attaching to
the head” at at least two ends.
Note that while ball-bearings are included in the preferred
embodiment between the head 108 and the head-cable 202,
allowing the head 108 to rotate independently of the
head-cable 202, thus allowing the head-cable 202 to maintain its
shape when it loops around the cup-cable 526, thus obviating the need for
the head-cable 108 to be flexible 202, if the head-cable 108 is
flexible, then it can change its shape as the stretch of head-cable forming the
loop around the cup-cable 526 changes. (This change in shape can also
allow the head 108 to potentially rotate further than if the
head-cable was straight—see for example FIG. 11D showing the
head-cable line rotating further along the head 108 than in
the super-spherical cavity 804—see also FIG. 16D.) Additionally,
even if the head-cable 202 was not flexible, and the head 108 did
not rotate independently from the head-cable 202, there would still be
wiggle room before either an end of the loop of the head-cable 108 hit
the cup 106 or the head-cable 108 caught on the
cup-cable 526.
In another embodiment, a sheath 1304 encloses
the head-cable 202 for a portion (optionally and preferably the
complete length) of the head-cable 202 that does not need to come out
of the head-groove 204 to begin to loop around the cup-cable 526 during
usable head rotation (see FIG. 13A).
In yet another embodiment (see FIGS. 15A-15B), the
head-cable 1502 and/or head groove 1506 in
the head 1504 do not go around the south pole of
the head 1204, though the head-cable 1502 does make a
complete loop (no breaks in the head-cable 1502), obviating the need for
a hole 570 between the stem 110 and the south
pole of the head 1204, making the formerly pronged portion 564 into
a non-pronged portion 1306. Again, the geometry of the swerve around
the south pole of the head 1204 must 1) allow for usable head
rotation and 2) if no sheath (similar to the sheath 1304 in FIG.
13A) is used around the head-cable 1502, not allow for the
head-cable 1502 to slip out of the head-groove 1506 during
usable head rotation.
In yet another embodiment (see FIG. 13B), the
head-cable 202 and/or head-groove 204 do not go all the way
down to the south pole of the head 1204 and loop around it, but
attach 1302 to the head 1308 at certain latitudes
above the south pole of the head 1204 at each end. The latitudes
at each end where the head-cable 202 attaches 1302 to
the head 1308 must allow for usable head rotation, and the
formerly pronged portion becomes non-pronged 1306 because the
head-cable 202 no longer needs a hole 570 to go
through.
In another embodiment (see FIGS. 14A-14B), the
head-cable is forked 1406 (with accommodating forked head-groove 1404)
around the south pole 1204 of the accommodating head 1402,
again obviating the need for a hole 570 between
the stem 110 and the south pole of the head 1204,
making the pronged portion 564 into a non-pronged
portion 1306. Again, the geometry of the swerve around the south pole of
the head 1204 must 1) allow for usable head rotation and 2) if
no sheath (similar to the sheath 1304 in FIG. 13A) is used
around the head-cable 1502, not allow for the head-cable 1406 to
slip out of the head-groove 1404 during usable head rotation.
In yet another embodiment (see FIGS. 16A-16B), instead
of one head-cable 108, one head-cable 1604 in a
head-groove 1606 is used on one side of the south pole of
the head 1204, and another head-cable 1608 in a
head-groove 1610 in an accommodating head 1602 is used
on the other side of the south pole of the head 1204, again obviating
the need for a hole 570 between the stem 110 and
the south pole of the head 1204, making the pronged
portion 564 into a non-pronged portion 1306. Again, the
geometry of each head-cable 1608 around the south pole of
the head 1204 must 1) allow for usable head rotation and 2) if
no sheath (similar to the sheath 1304 in FIG. 13A) is used
around the head-cable 1502, not allow for the head-cable 1608 to
slip out of the head-groove 1610 during usable head rotation. Note
that any number of head-cables 1608 may be used, so long as they
allow for usable head rotation. It is best to have the head-cables 1608 parallel,
but they may be non-parallel if they still allow for usable head rotation.
In yet another embodiment (see FIG. 17), the above
embodiment (in the previous paragraph) with multiple head-cables is changed by
replacing the cup-cable 526 with two cup-cables 1702. Again, the
geometry must allow for usable head rotation. It is optionally useful to have
stretchable head-cables to obtain more degrees in the range of motion along
each axis.
In yet another embodiment (see FIG. 20), the
head-cable 2004 does not have any head-groove 204 but
attaches to the head 2002 at two points 2006 in
the northern hemisphere of the head 2002, again obviating the need
for a hole 570 between the stem 110 and the south
pole of the head 1204, making the pronged portion 564 into
a non-pronged portion 1306. Optimally, the head-cable 2004 attaches
at each end at 45 degrees from the north pole of the head 1202 on
opposite sides of the north pole, so as to allow the head 2002 to
rotate 45 degrees in each direction along the line of the head-cable 2004 before
either 1) the attachment point 2006 of the head-cable 2004 bangs
into the inner surface of the cup 802, or 2) the head-cable 2004 catches
on the cup-cable 526.
In yet another embodiment (see FIG. 2106), instead of
using a head-cable 202 and cup-cable 526, a head-cup-cable 2104 to
attach the inner surface of the cup 802 to
the accommodating head 2102 with attachment point 2106.
It is useful for the head-cup-cable 2104 to be stretchable and have
room to unfold itself and become longer (like a snake uncurling), so as to
increase the range of motion.
If it is not necessary for the head-cable to slide linearly
relative to a head-groove, then the head-cable must just fit these requirements:
1) it must be able to loop around the cup-cable during usable head rotation; 2)
it must not catch at the cup's equator between the head and the inner surface
of the cup (through the cup-liner).)
Though not optimal, it is not necessary for the head-cable
to be in the head-groove all of the way along the head, so long as usable head
rotation is obtained.
Though the cup 106 is shown in the figures
extending to the equator of the head and no further, the cup can extend down
beyond the equator of the head into the southern hemisphere, so long as usable
head rotation is obtained. This can be used as an additional safeguard to keep
the head from dislocating from the socket, but sacrifices range of motion to
the extent it encircles the head.
C. The cup: The cup is comprised of an inner
surface 802 and an outer surface 511, the outer
surface 511 fastened to the cup bone and the head fitting within the
cup's inner surface 802. (See for example FIG. 5 for
components mentioned in this paragraph).
The inner surface 802 is comprised of
a spherical portion 506 and a super-spherical (hollowed out
beyond spherical) portion 508.
Optionally and preferably the super-spherical
portion 508 of the inner surface of the cup 802 viewed
from the side is a portion of a circle with its center the same as
the spherical portion 506 but with a larger radius, also
optionally with sides that jut inward allowing the cup-cable 526 to
contact the inner surface of the cup 802 at a perpendicular
angle. However, so long as the cavity 804 allows room for the
head-cable 202 to loop around the cup-cable 526 and rotate
for usable rotation, there is enough concavity in the super-spherical
cavity 804.
Spherical Portion:
The spherical portion 506 of the inner
surface of the cup 802 “runs roughly all of the way around the
inner surface of the cup along latitude lines, is located roughly closer to the
cup's equator than the super-spherical portion, and extends approximately up
from the equator to a certain latitude on the inside surface of the cup”
[meaning also covering enough surface area along the head's equator 1206 to
accomplish the following: 1) once fitted into the spherical portion 506 of
the socket/cup 106, the head 108 cannot move
translationally further into the socket 106; and 2) the surface area
of the portion where the head 108 contacts the cup-liner 531 is
sufficient such that any debris buildup caused by rubbing of
the head 108 and the inner surface of the cup 802 against
the cup liner 531 does not unduly impair operation of the
apparatus nor the patient's health, rendering the hip implant unsafe to
implant]. Alternatively, the “inner surface wherein a portion of the inner
surface running from the cup's equator to a more northerly latitude” is defined
to runs all of the way around the inner surface of the cup along latitude
lines, extends upward from the cup's equator to a particular latitude (for
example, 5, 10, 20, 45 degrees upward from the cup's equator, these examples
not meant to be limiting).
Super-Spherical Portion:
The super-spherical portion 508 of the inner
surface of the cup 802 “runs roughly all of the way around the
cup along latitude lines, is located roughly closer to the cup's north pole,
and extends down approximately from the cup's north pole to said certain
latitude on the inner surface of the cup” [meaning also covering enough surface
area to allow usable rotational movement both along the line of the
cup-cable 526 and along the line of the head-cable 202].
Alternatively, there can be “a portion of the inner surface running from the
more northerly latitude to the north pole of the cup”, wherein the
super-spherical (same meaning as “hollowed out super-spherically”) portion runs
all of the way around the cup along latitude lines, and runs down latitudinally
from the north pole of the inner surface of the cup to the latitude at which
the spherical portion begins.
Connecting the Cup to the Cup-Bone:
The cup 106 is fastened to the cup-bone,
either directly or indirectly through a mounting plate (or other combination of
parts) (optionally and preferably with two screws into the cup-bone).
Divisions of Cup:
The cup 106 is comprised of an inner
surface 802 and an outer surface 511, the outer
surface 511 fastened to the cup bone (for example, hip
bone 102 or shoulder framework fitting around the cup 404) and
the head 108 fitting within the cup's inner surface 802.
The inner surface 802 is comprised of a spherical
portion 506 and a super-spherical 508 (hollowed out beyond
spherically) portion.
In yet another embodiment (See FIGS. 22A-C), the
portions of the cup along the cup's equator are recessed along the line of the
head-cable 202 (with one recess 2202 at one side, and
another recess 2204 on the opposite side), allowing
the stem 110 room to swing up beyond 180 degrees (see FIG.
22B) along the line of the head-cable. Note that the cup-liner 531 must
also similarly be recessed.
Optionally, the cup liner lines 531 at least
the spherical portions of the inner surface of the cup 802 and
contacts the inner surface of the cup 802 on one side and
the head 108 on the other side. (See for example FIGS.
3, 5).
Optionally, a locking ring for the cup liner 531 holds
the cup liner 531 in place, such as found in U.S. Pat. No.
7,766,971, hereby incorporated by reference.
The cup-cable 526 runs “roughly parallel to the
surface of the head above the north hemisphere and roughly perpendicular to the
head-groove” [meaning parallel enough to the surface of the head and
perpendicular enough relative to the head-groove to allow for usable head
rotation], attached at each end at a point on the super-spherical portion of
the inside surface of the cup (optionally with a lip that allows the cup-cable
to contact the inside surface of the cup at a perpendicular angle). (See for
example, FIGS. 13A-B). Alternatively, the cup-cable can run exactly
parallel to the surface of the head above the north hemisphere.
Cup-Cable/Head-Cable Interface:
In yet another embodiment (see FIGS. 18-19), the
head-cable 202 can slide linearly relative to an interface 1802,
while the cup-cable 526 can also slide linearly (though perpendicular
to the head-cable 202) relative to the interface 1802. This
allows the distance between the cup-cable 526 and the
head-cable 202 to remain fixed for easier motion.
The interface 1802 is composed of 1) a subunit 1804 with
a hole 1808 for the head-cable 202 housing a roller
bearing above the head-cable 1902 and a roller bearing below the
head-cable 1904; and 2) a subunit 1806 with
a hole 1810 for the cup-cable 526 housing a roller
bearing above the cup-cable 1906 and a roller bearing below the
cup-cable 1908. Note that any number of roller bearings (or other
bearings, such as ball-bearings, or multiple sets of bearings) may be used, so
long as the head-cable 202 and cup-cable 526 each can slide
independently. It is also possible to have only the cup-cable 526 able
to slide if ball-bearings 602 in the head groove 204 allow
the head 108 to rotate independently of the head-cable 202.
More on the Swivel:
The swivel allows the head-bone to rotate along the z-axis
(when you twist your leg (for the hip joint) or twist your shoulder (for the
shoulder joint) in the axis pointing from the inner surface of the cup's north
pole down to the head-bone, discussed earlier as “latitudinally”). Rotation
along this z-axis is called “horizontal”, resulting in the term “horizontal swivel.”
The swivel may be horizontal, or roughly horizontal enough to allow for usable
head rotation, or anything in between. The swivel may be at any workable point
between the head-bone and the cup-bone—thus, if it does not interfere with the
functioning of the other parts of the apparatus, such points which should be
obvious to one of ordinary skill in the art. The swivel also may be between the
inner surface of the cup 802 and the cup-bone (for example,
the hip bone 102 or the shoulder framework 404), or between
the inner surface of the cup 802 and the head 108, or
between the south 1204 pole of the head and the head-bone (for
example, the femur 112 or the humerus 402), or bisecting
the head 108 (so shoulder framework 404) remains “substantially
fixed” [meaning not susceptible to breakage or unusable bending that would
render the hip implant unsafe to be implanted] (aside from the horizontal
twisting afforded by the swivel) relative to the part adjacent to the swivel
further from the cup-bone (for example, the hip long as it doesn't interfere
with the head-cable 202 sliding in any head-grooves 204, and is
sufficiently strong so that the part adjacent to the swivel closer to the
cup-bone (for example, the hip bone 102 or the bone 102 or
the shoulder framework 404)). The swivel is optional, as
the head 108 may still rotate along either axis even if
horizontally the head-cable 202 is not strictly perpendicular to the
cup-cable 526.
It should be obvious to one of ordinary skill in the art,
using the main concepts and the first version to work off of, to make and use
different versions using a) various means of connection (instead of screws,
substituting other ways of connecting the parts); b) splitting a given part
into multiple parts (for instance, to allow for assembly of most parts outside
of the body, and to allow parts to be more easily replaced (for instance, so
the bone doesn't have to be drilled into)), and/or combining parts; c) varying
numbers along ranges (for instance, the size of the head, exact shape of
super-spherical cavity so long as it performs its function, exact latitude at
which the inner surface of the cup shifts from super-spherical to spherical,
exact placement and design of the horizontal swivel, among others); and/or d)
omitting features so long as the function of usable head rotation is still
served. While different type heads (or other parts) are referred to throughout,
the usage of a specific reference numeral (such as 108) is not meant to
constrain the meaning if other geometries (including but not limited to parts
from other embodiments and/or other versions) are workable within the general
inventive concept, but just to be an example.
It should be obvious to a person of ordinary skill in the
art how to assemble any of the previously mentioned versions, with the
following additional tips:
1. To assemble the head 108/head-cable 202/head
to head-bone rod 218 complex when there is a south pole 1204 hole 570 in
the end of the head to head-bone rod 218 which the head-cable 202 and
head-groove 204 fit through, the head to head-bone rod 218 may
have two prongs 571 that fit into the head 108 at
the south pole of the head 1204, where the head-cable 202 loops
around the beginnings of the prongs in the prongs hole 570 and
turns along with the prongs 571 until the prongs 571 are
fully screwed in. (If the head-groove 204 is to completely loop
around the south pole of the head 1204, then after the
head-cable 202 is inserted between the two prongs 571, then
a piece with head-groove portion 577 facing the beginnings of
the prongs 571 could be attached between the two prongs to
complete the head-groove 204 between the prongs 571.) Or,
instead of looping the head-cable 202 around prongs 571 in
the head-head-bone rod 218 before the prongs 571 are
screwed into the head 108, a section of one of the prongs 571 could
be cut out and replaced (or just put in) after sliding the head-cable 202 between
the two prongs 571. There are many other methods of assembling these
parts, which should be obvious to one of ordinary skill in the art.
2. To loop the head-cable 202 around the
cup-cable 526 while both will eventually end up in a
covered cavity 804 between the inner surface of
the cup 802 and the northern hemisphere of the head, there must
be a hole adequate to allow the cup-cable 526 to be inserted properly
between the head-cable 202 and the head 108 (if the
preferred embodiment method detailed above of squeezing the cup-cable 526 between
two parts of the cup 106 is not used)—with (see FIG. 8B)
a hole 808 at either end of where the cup-cable 526 attaches
with an accommodating cup 810 to the cup 810, or
(see FIG. 8C) closer to the top of the cup, beginning with
an accommodating cup 812 with an accommodating hole in the top 814 through
which first the cup-cable 526 fits into the cavity 804 and
then the hole 814 is closed by an accommodating piece 816 to
fit into the cup 812.
Any number of variations of the above two methods of
assembly, and/or other methods, should be obvious to one of ordinary skill in
the art.
Each version may be used to create independent axes of
rotational movement (through a combination of rotation along the line of the
head-cable 202 (see FIGS. 11A-11B examples), along the line
of the cup-cable 526 (see FIGS. 11C-11D), and twisting through
the swivel), while still constraining the head translationally relative to the
cup. The degrees of rotation along each axis are limited by physical
constraints—i.e. when one part (such as a head-cable 202) runs into
another part (such as the inner surface of the cup 802).
Piecemeal Version:
In another version, each axis of rotation is created
piecemeal through “swivel devices” or “devices” that form a device assembly
(which connects the cup-bone (such as the hip bone 102 or the
shoulder framework 404) to the head-bone (such as the femur 112 or
the humerus 402).
Each axis of rotation is created piecemeal through a “swivel
device” that rotates around where the center of the head 108 would
be, either through 1) a swivel with a lever (see for example FIGS. 30A-C),
comprising a swivel whose axis of rotation crosses through the center of
the head 108 with a lever 3004 extending
perpendicular to said axis of rotation and outward from the center of where
the head 108 would be, or 2) a cable that is caught within but
slides smoothly along a circular track along a fixed radius from the center of
the head (optionally with ball bearings interfacing between the cable caught in
the track and the track), the cable being a permutation of the variables a)
inside the head track (top left of FIGS. 26, 29) vs. along the cup
track (top left of FIGS. 27, 28) and b) knob inside track (top left
of FIGS. 26, 27) vs. ring around cable (top left of FIGS.
29, 28). To create two independent axes of rotation, the axis about which
each device rotates is perpendicular to the other device's axis. Note that each
device may be attached to separate sides of the head (see for
example FIGS. 24A-24B with accommodating sides of head one 2402 and
two 2404 and swivel in the middle of the head 2406, 31A-31B),
or to each other (see for example top left of FIG. 25A)—the only
constraint when selecting devices is that the lever device (see for
example FIGS. 30A-30C) may only be used when pointing outward from the
head's center. Each device or combination (when the devices are not on separate
sides of the head but are connected to each other) of devices attaches the head
to either the head-bone or to the cup-bone, and the connection between the head
and the bone not connected by the combination (the cup-bone or the head-bone,
if two separate devices are not used) does not have to (but may) rotate.
Adding more devices even after two axes of rotation were
already created may be used to get extra degrees of rotation (such as by having
both the head-bone and the cup-bone each separately attached to cables that
insert along the same track (along the same axis of rotation, allowing for
possibly more than 180 degrees of rotation along that axis)). (For example, see FIGS.
25A-C, where two knobs are both in a track in the head).
Now we'll discuss the preferred embodiment of each device in
detail (note that, just as in the cables version, there will be many other
embodiments other than the preferred one performing the same functions that are
obvious to one of ordinary skill in the art, but do not use all of the details
shown by the examples below):
Swivel with Lever:
FIGS. 30A-30C depict the preferred embodiment of a
swivel with lever 3004 (see FIGS. 30B-30C for inner parts).
A head 3006 (with optional fixed point 3008 on
opposite side of head 3006) is adapted to fit a swivel
with lever 3004 extending perpendicular to axis of rotation and
outward from the center of the head 3006, the swivel comprising
the lever 3004 which is rotated by a ring 3002 that
rotates about the center portion 3012 attached the head 3006 through
ball-bearings 3014. The head 3006 contains a slot so that
the lever 3004 can rotate a certain number of degrees without
being stopped by the head 3006.
Inside Track:
An inside track is where something is caught within but
slides smoothly along a circular track along a fixed radius from the center of
the head, and where the fixed point is further away from the center of the head
(for instance on the cup) than the track. For example, 1) (see for
example, FIG. 27) a dumbbell portion with knob 2320 in track 2313 and stick
portion 2306 extending to fixed points at the cup 2702 and
on the bottom 2504 (optionally with ball-bearings 2606)
(see FIG. 27, two knobs 2320) the inside of the accommodating
head 2502 or 2) (see for example, FIG. 29) a ring 2904 around
a cable 2906 in a slot 2902 on the inside of the
head 2908.
Outside Track:
An outside track is where something is caught within but
slides smoothly along a circular track along a fixed radius from the center of
the head, and where the fixed point is closer to the center of the head (for
instance in the head). For example, 1) (see for example, FIG. 26) a
dumbbell portion with knob 2308 in track 2312 and stick
portion 2306 extending down towards the center of the accommodating
head 2604 (optionally with ball-bearings 2606 and with
optional fixed point 2602 on the other side of the accommodating
head 2604) or 2) (see, for example, see FIG. 28) a ring 2804 around
a cable 526 in a slot 2806 on
the accommodating cup 2808.
A horizontal swivel (with an axis perpendicular to that of
the two devices) may be created just as in the cables version (see for
example FIG. 28). Unlike some of the cables embodiments, a swivel
bisecting the head will not interfere with the operation of any cable, because
there is none.
As with the cables version, there are many ways of
implementing the details of the piecemeal version, such as number of parts
(such as more sets of ball-bearings for lever), type of parts (such as using
roller-bearings instead of ball-bearings), geometry (does not have to be exact
so long as the function of usable head rotation is fulfilled) and any other
factor obvious to one of ordinary skill in the art. Of course, parts of
versions may be combined when they produce usable head rotation.
Gimbal Version:
Alternatively to the piecemeal version, two or three axes of
rotation may be created through a gimbal for each axis of rotation (optionally
the version has a flexible cover). (For example, see FIG. 32). In this
preferred embodiment, a rod 3208 runs through
another rod 3210 running perpendicular to the first rod, where
the ends of the first rod are connected to ball-bearings surrounded by the ends
of a C-clamp 3204, and similarly with the second C-clamp 3206,
allowing each C-clamp to rotate perpendicularly to the other, creating rotation
along two axes, and transferring that ability for example to a cup 106 (with
an inner portion 3212 and an outer portion 3214) relative
to a fixed point 2602.
Weathervane Version:
Additionally, one track combined with a horizontal swivel
may create two axes of rotation by acting like a weathervane (for example,
see FIGS. 23A-23B). For example, an outside track with a knob
(see FIGS. 23A-23B) can rotate along one axis. If the pressure on the left
side of the head is different from that on the right side of
the accommodating head 2304, then the accommodating head 2304 will
swivel more and more until it reaches the point where it is only rotating about
the axis of the track 2312. Note the ball-bearings 2318 in
the slot 2316, outside of the cup 2310, track 2312,
and a piece holding the two together 2314, along with the head 2304, hole-less
stem 2302 and head-bone rod 114.
Note that though the inside and outside tracks may be used
with a “cup” implanted in the socket of the cup-bone, the inside and outside
tracks may also be used with a “cup” attaching to the head-bone.
Assembly of the piecemeal and track versions should be
obvious to one of ordinary skill in the art.
The materials used for each embodiment within each version
are those commonly used for making artificial hip joints. The inventor has no
preference. So long as usable head rotation can be maintained without a certain
feature within a combination of features, that feature is optional. Of course,
parts of different versions may be combined when they produce usable head
rotation. Again, all embodiments and alternatives mentioned above are merely
intended to be examples, and are not intended to limit the scope of the
invention—one of ordinary skill in the art will know many variations on
implementing the details without varying the inventive concepts. Note: The
abstract is an oversimplification and does not fully include all versions and
all aspects of all versions contemplated. The detailed description incorporates
the summary by reference.
What is
claimed is:
1. A
prosthetic ball and socket apparatus, comprising:
a) a cup
comprising an inner surface wherein a portion of the inner surface running from
the cup's equator extending up from the equator to a northern border that runs
all of the way around the inner surface at substantially a latitude such that
any debris buildup caused by rubbing of a head and the inner surface of the cup
against a cup liner does not unduly impair operation of the apparatus nor the
patient's health to render the hip implant unsafe to implant, such portion
being spherical, and a portion of the inner surface running from the
northernmost points of the spherical inner surface to a north pole of the cup
is hollowed out super-spherically, said cup fastened to a cup-bone;
b) the head
fitting inside the inner surface of the cup and contacting the spherical
portion of the inner surface of the cup through the cup liner, a head-groove in
said head;
c) the cup
liner interposed between the head and the spherical portion of the inner
surface;
d) a head
to head-bone rod with one end fastened to a head-bone and the other end
fastened to substantially a south pole of the head;
e) the head
groove looping approximately longitudinally allowing for walkable head rotation
around the head;
f) a
flexible head-cable:
i) fitting
inside the head-groove when the head-cable is between the head and the
spherical portion of the inner surface of the cup;
ii) looping
around a cup-cable at a point below the north pole of the inner surface of the
cup; and
iii)
looping longitudinally allowing for walkable head rotation around the head, and
g) the
cup-cable:
i) running
parallel allowing for walkable head rotation to a portion of an outer surface
of the head above a northern hemisphere of the head;
ii) running
perpendicularly allowing for walkable head rotation to the head-cable; and
iii)
fastened at each end at separate points on the super-spherical portion of the
inner surface of the cup.
2. The
apparatus of claim 1, wherein the head to head-bone rod has a hole to
allow the head-cable to pass through the south pole of the head.
3. The
apparatus of claim 1, wherein the spherical inner surface of the cup
extends up from the equator to a northern border that runs all of the way
around the inner surface at substantially a latitude of 5 degrees northward.
4. The
apparatus of claim 3, wherein the head to head-bone rod has a hole to
allow the head-cable to pass through the south pole of the head.
5. The
apparatus of claim 1, wherein the spherical inner surface of the cup
extends up from the equator to a northern border that runs all of the way
around the inner surface at substantially a latitude of 10 degrees northward.
6. The
apparatus of claim 5, wherein the head to head-bone rod has a hole to
allow the head-cable to pass through the south pole of the head.
7. The
apparatus of claim 1, wherein the spherical inner surface of the cup
extends up from the equator to a northern border that runs all of the way
around the inner surface at substantially a latitude of 20 degrees northward.
8. The
apparatus of claim 7, wherein the head to head-bone rod has a hole to
allow the head-cable to pass through the south pole of the head.
9. The
apparatus of claim 1, wherein the spherical inner surface of the cup
extends up from the equator to a northern border that runs all of the way
around the inner surface at substantially a latitude of 45 degrees northward.
10. The
apparatus of claim 9, wherein the head to head-bone rod has a hole to
allow the head-cable to pass through the south pole of the head.
11. A
prosthetic ball and socket apparatus, comprising:
a) a cup
comprising an inner surface wherein a portion of the inner surface running from
the cup's equator extending up from the equator to a northern border that runs
all of the way around the inner surface at substantially a latitude such that
any debris buildup caused by rubbing of a head and the inner surface of the cup
against a cup liner does not unduly impair operation of the apparatus nor the
patient's health to render the hip implant unsafe to implant, such portion
being spherical, and a portion of the inner surface running from the
northernmost points of a spherical inner surface to a north pole of the cup is
hollowed out super-spherically, said cup fastened to a cup-bone;
b) a head
fitting inside the inner surface of the cup and contacting the spherical
portion of the inner surface of the cup through the cup liner, a head-groove in
said head;
c) the cup
liner interposed between the head and the spherical portion of the inner
surface;
d) a head
to head-bone rod with one end fastened to a head-bone and the other end
fastened to a south pole of the head;
e) the head
groove looping substantially longitudinally around the head;
f) a
flexible head-cable:
i) fitting
inside the head-groove when the head-cable is between the head and the
spherical portion of the inner surface of the cup;
ii) looping
around a cup-cable at a point below the north pole of the inner surface of the
cup; and
iii) looping
substantially longitudinally around the head, and
g) the
cup-cable:
i) running
substantially parallel to a portion of an outer surface of the head above a
northern hemisphere of the head;
ii) running
perpendicular substantially to the head-cable; and
iii)
fastened at each end at separate points on the super-spherical portion of the
inner surface of the cup.
12. The
apparatus of claim 11, wherein the head to head-bone rod has a hole to
allow the head-cable to pass through the south pole of the head.
13. The
apparatus of claim 11, wherein the spherical inner surface of the cup
extends up from the equator to a northern border that runs all of the way
around the inner surface at substantially a latitude of 5 degrees northward.
14. The
apparatus of claim 13, wherein the head to head-bone rod has a hole to
allow the head-cable to pass through the south pole of the head.
15. The
apparatus of claim 11, wherein the spherical inner surface of the cup
extends up from the equator to a northern border that runs all of the way
around the inner surface at substantially a latitude of 10 degrees northward.
16. The
apparatus of claim 15, wherein the head to head-bone rod has a hole to
allow the head-cable to pass through the south pole of the head.
17. The
apparatus of claim 11, wherein the spherical inner surface of the cup
extends up from the equator to a northern border that runs all of the way
around the inner surface at substantially a latitude of 20 degrees northward.
18. The
apparatus of claim 17, wherein the head to head-bone rod has a hole to
allow the head-cable to pass through the south pole of the head.
19. The
apparatus of claim 11, wherein the spherical inner surface of the cup
extends up from the equator to a northern border that runs all of the way
around the inner surface at substantially a latitude of 45 degrees northward.
20. The
apparatus of claim 19, wherein the head to head-bone rod has a hole to
allow the head-cable to pass through the south pole of the head.
21. A
prosthetic ball and socket apparatus, comprising:
a) a cup
comprising an inner surface wherein a portion of the inner surface running from
the cup's equator extending up from the equator to a northern border that runs
all of the way around the inner surface at substantially a latitude such that
any debris buildup caused by rubbing of a head and the inner surface of the cup
against a cup liner does not unduly impair operation of the apparatus nor the
patient's health to render the hip implant unsafe to implant, such portion
being spherical, and a portion of the inner surface running from the
northernmost points of a spherical inner surface to a north pole of the cup is
hollowed out super-spherically, said cup fastened to a cup-bone;
b) the head
fitting inside the inner surface of the cup and contacting the spherical
portion of the inner surface of the cup through the cup liner, a head-groove in
said head;
c) the cup
liner interposed between the head and the spherical portion of the inner
surface;
d) a head
to head-bone rod with one end fastened to a head-bone and the other end
fastened to a south pole of the head;
e) the head
groove looping longitudinally around the head;
f) a
flexible head-cable:
i) fitting
inside the head-groove when the head-cable is between the head and the
spherical portion of the inner surface of the cup;
ii) looping
around a cup-cable at a point below the north pole of the inner surface of the
cup; and
iii)
looping longitudinally around the head, and
g) the
cup-cable:
i) running
parallel to a portion of an outer surface of the head above a northern
hemisphere of the head;
ii) running
perpendicular to the head-cable; and
iii)
fastened at each end at separate points on the super-spherical portion of the
inner surface of the cup.
22. The
apparatus of claim 21, wherein the head to head-bone rod has a hole to
allow the head-cable to pass through the south pole of the head.
23. The
apparatus of claim 21, wherein the spherical inner surface of the cup
extends up from the equator to a northern border that runs all of the way
around the inner surface at substantially a latitude of 5 degrees northward.
24. The
apparatus of claim 23, wherein the head to head-bone rod has a hole to
allow the head-cable to pass through the south pole of the head.
25. The
apparatus of claim 21, wherein the spherical inner surface of the cup
extends up from the equator to a northern border that runs all of the way
around the inner surface at substantially a latitude of 10 degrees northward.
26. The
apparatus of claim 25, wherein the head to head-bone rod has a hole to
allow the head-cable to pass through the south pole of the head.
27. The
apparatus of claim 21, wherein the spherical inner surface of the cup
extends up from the equator to a northern border that runs all of the way
around the inner surface at substantially a latitude of 20 degrees northward.
28. The
apparatus of claim 27, wherein the head to head-bone rod has a hole to
allow the head-cable to pass through the south pole of the head.
29. The
apparatus of claim 21, wherein the spherical inner surface of the cup
extends up from the equator to a northern border that runs all of the way
around the inner surface a substantially a latitude of 45 degrees northward.
External links
Castro FF, Fisher JMO, Moskovitz AP. Semi-constrained
ball and socket joints. US9060862B2 July 9, 2012. 2013. patents.google
Publications
of invention
US2013013079 (A1)
US9060862 (B2)
2013CastroFF_MoskovitzAP
Authors & Affiliations
Floyd Franklin
Castro, Oakland, CA (US)
James Mark
Oakley Fisher, Walnut Creek, CA (US)
Alex Paul Moskovitz,
Berkeley, CA (US)
Keywords
ligamentum capitis femoris, ligamentum teres, ligament
of head of femur, endoprosthesis, prosthesis,
invention, bipolar, total
NB! Fair practice / use: copied for the purposes of criticism, review, comment, research and private study in accordance with Copyright Laws of the US: 17 U.S.C. §107; Copyright Law of the EU: Dir. 2001/29/EC, art.5/3a,d; Copyright Law of the RU: ГК РФ ст.1274/1.1-2,7
















































Comments
Post a Comment