Artificial hip joint
(Искусственный тазобедренный сустав конструкции С.В. Архипова)
Inventor
Сергей Васильевич Архипов
Original Assignee
Sergey Vasilyevich Arkhipov
Application RU94040447/14A events
1994-11-04 Application filed by С.В. Архипов
1994-11-04 Priority to RU94040447/14A
1996-09-20 Publication of RU94040447A
Claims
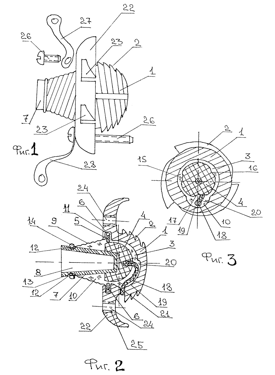
1. An artificial hip joint of the design of S.V.
Arkhipov, comprising a body
equipped with a self-cutting thread, and a spherical head, characterized in
that the body has a spherical cavity in which the head is mounted so that a
movable, one-piece connection is formed, in addition, the head is equipped with
a sleeve with a longitudinal conical hole.
2. The artificial joint according to claim 1,
characterized in that the body cavity has a shaped groove.
3. The artificial joint according to claims
1, 2, characterized in that the head mounted in the cavity has a longitudinal
backlash.
4. An artificial joint according to
claims 1 to 3, characterized in that a flexible sealed sleeve filled with a
bioinert antifriction medium having antiseptic properties is connected to the
body and sleeve of the head.
5. An artificial joint according to
claims 1 to 4, characterized in that the head sleeve with respect to the sleeve
has the possibility of independent rotation and is hermetically connected to
it.
6. An artificial joint according to
claims 1-5, characterized in that the housing has a shaped shoulder provided
with threaded holes and cutting edges.
7. An artificial joint according to
claims 1-6, characterized in that flexible artificial ligaments, one or more of which are connected to the
body, have one of its ends.
8. An artificial joint according to
claims 1 to 7, characterized in that the head is connected to the shaped groove
of the body cavity by a flexible artificial
ligament.
9. An artificial joint according to
claims 1 to 8, characterized in that the head has the shape of a truncated
ball, on the surface of which there are longitudinal recesses.
Description of the invention
Description in Russian is
available at the link: 1994(b)АрхиповСВ (the blog has a translation function).
External links
Arkhipov SV. Artificial hip
joint designed by S.V. Arkhipov. Application for invention № 94040447 (040063)
dated November 4, 1994 [in Russian] (Архипов СВ. Искусственный
тазобедренный сустав конструкции С.В. Архипова. Заявка на изобретение №94040447
(040063) от 04.11.1994.) [patents.google.com]
Keywords:
ligamentum capitis femoris, ligamentum teres, ligament of head of femur, hip, endoprosthesis, total, bipolar
ENDOPROSTHESES AND IMPLANTS
%D0%90%D1%80%D1%85%D0%B8%D0%BF%D0%BE%D0%B2%D0%A1%D0%92(invention)%20%D0%A4%D0%B8%D0%B3.1%20...%203.jpg)
Comments
Post a Comment